Fall protection rail system
LADDERRAIL
Vertical rail system
Our teams headed out to meet operators in the telecoms and wind power sectors.
By listening and analysing their issues and requirements, the idea of designing the Ladderrail was born.
Engineered and manufactured in our own workshops, this fall-arrest solution is the perfect combination of safety, comfort and ease of use, and is ideal for securing very great heights.
EUROPEAN STANDARDS
The Ladderrail complies with the following standards
|
|
Guided type fall arresters including a rigid anchor line - Defines the requirements for design, material andconstruction, blocking methods, and requirements forstatic strength and dynamic performance, corrosionresistance, marking and information. |
User-friendly
Up to 3 users simultaneously
Perfect fluidity
on the way up and down
Optimum safety
Certified up to 150kg (user and tools included)
Smart
The runner can be clipped and removed at any point on the rail
Superior design
High quality finishes & large range of anodisingoptions available
Please enter a valid video URL.
The URL can point to any Facebook, Twitch, Vimeo or Youtube video.
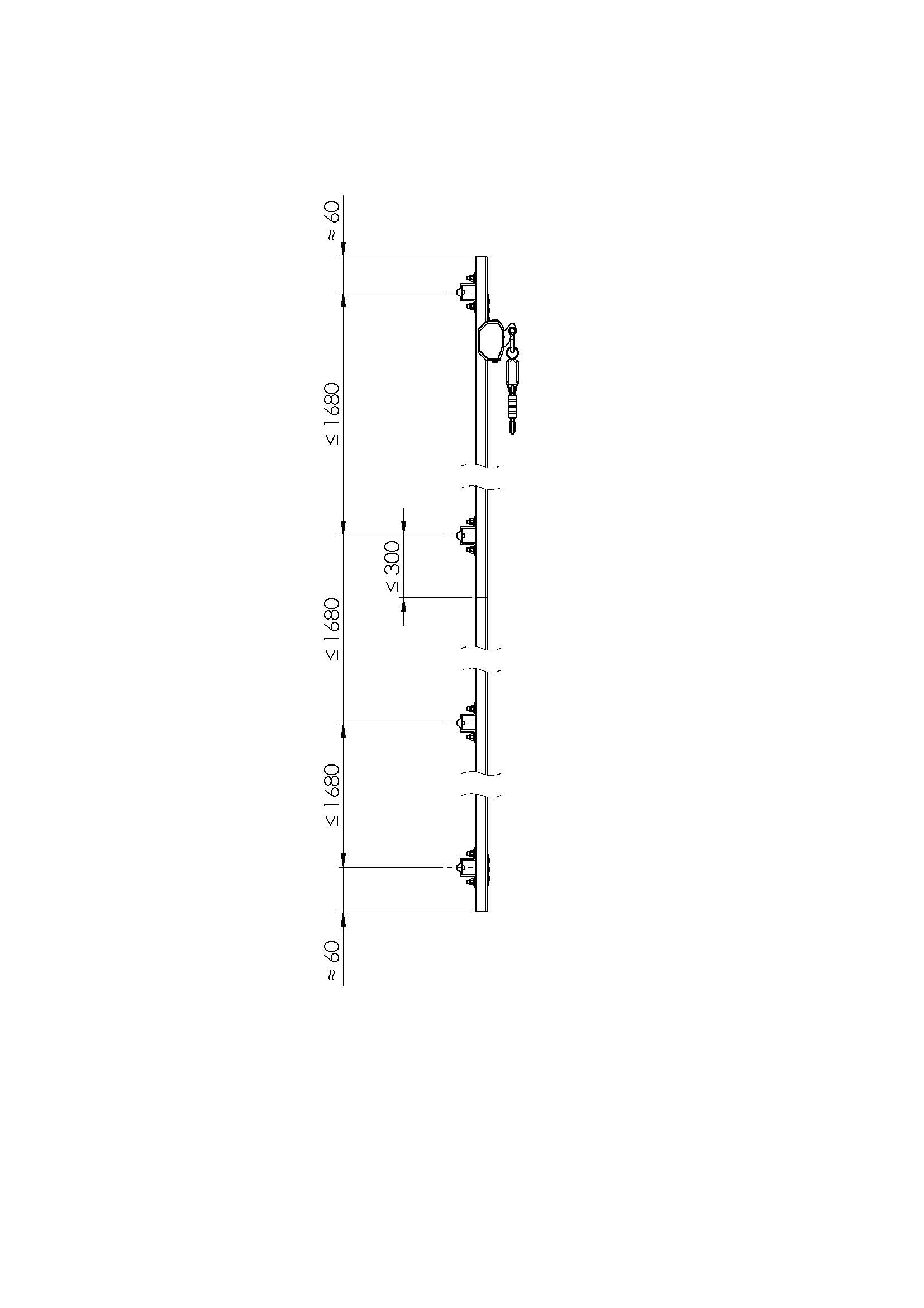
Installation features
20 > L > 31 mm
Project references






